| 材料 | 聚碳酸酯(PC),硅橡膠(SI),聚酰胺(PA6-GF30) |
| 電源 | 直流 24V DC ±10% |
| 信號輸入(1600/1601) | 0/4 – 20 mA或0-5/10V |
| 設定信號輸入阻抗(1600/1601) |
0/4 – 20 mA信號時140Ω 0-5/10V信號時20KΩ |
|
壓縮空氣要求 顆粒度要求 顆粒密度要求 凝點要求 油脂濃度要求 |
固體顆粒大小和密度3級 露點3級 含油量3級 |
|
環(huán)境溫度 |
0-60°C |
|
氣動接頭 |
1/4英寸插入式軟管接頭(內徑φ6mm) |
|
電器快速接頭 |
M12 三針 B標準 (電纜直徑 ? 4-6mm) M12 四針 D標準 (電纜直徑 ? 4-6mm) M12 五針 A標準 (電纜直徑 ? 4-6mm) |
|
氣源壓力 |
3~7 bar,具體值視執(zhí)行機構而定 |
|
輸出氣體流量 |
17 L/min(輸入壓力為 0.6Mpa) 95 L/min(輸入壓力為0.6Mpa, 僅單作用) |
|
閥門行程控制范圍 |
直行程 5-50mm 角行程 90° |
| 安裝方式 |
傾向于安裝在執(zhí)行器頂端,通過螺紋和執(zhí)行器連接 |
|
防護等級 |
IP67 |
|
功耗 |
<5W |




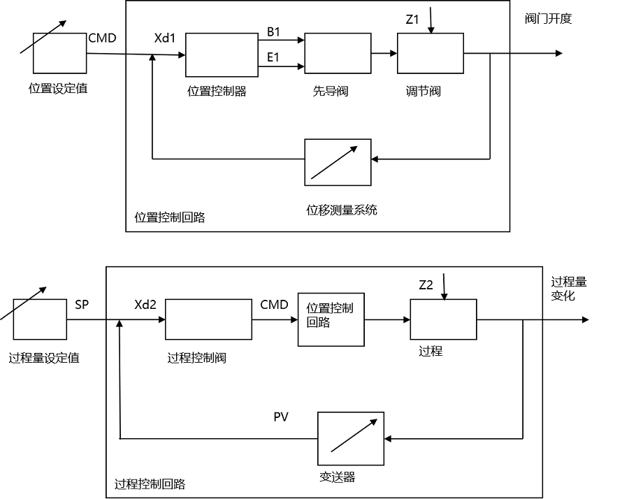
將定位器與閥門連接之后,定位器可與閥門之間做角度調整。若需要調整定位器操作界面角度,松開A處的內六角緊定螺釘后,順時針或逆時針180°范圍內調整到需要的角度,再擰緊緊定螺釘。

X2 (1601)
變送器輸入 +
+24 V
變送器信號輸出
4-20 mA
變送器 GND
GND
0/4–20mA 或0–5/10 V
X1 (1600/1601)
變送器輸入 +
0/4–20mA 或0–5/10 V
開關量信號輸出通道1
0/24 V
開關量信號輸出通道2
0/24 V
開關量信號輸入 +
0-3V =”0”,15-30V =“1”
信號公共 GND
GND
X1 (1602)
總線電源+5V
/
B 反相驅動器輸出/接收器輸入
/
A 同相驅動器輸出/接收器輸入
/
DE 驅動器啟用狀態(tài)輸出
/
信號公共 GND
/

| P | 氣源進入(內置濾網,過濾尺寸5μm) |
|
R |
排氣 |
|
C |
單向閥 |
|
A1 |
先導氣口1 |
| A2 | 先導氣口2 |

